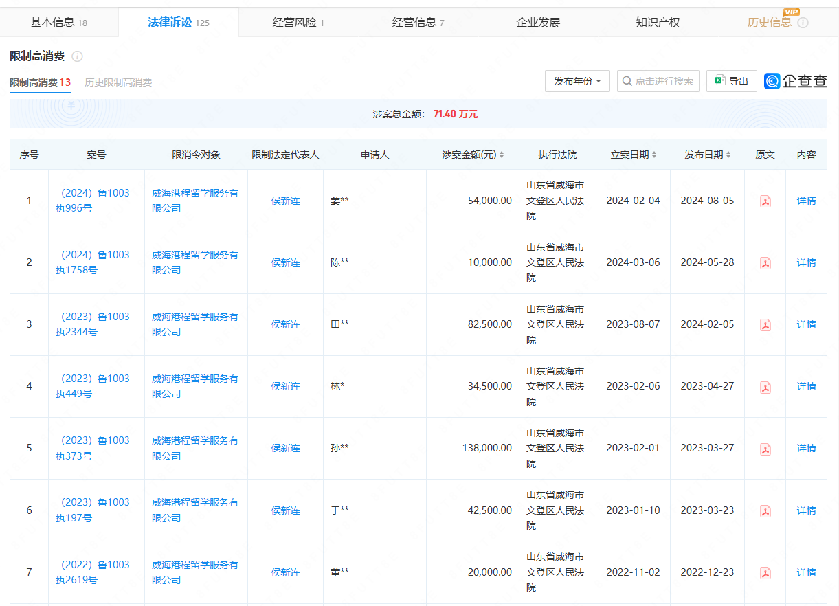
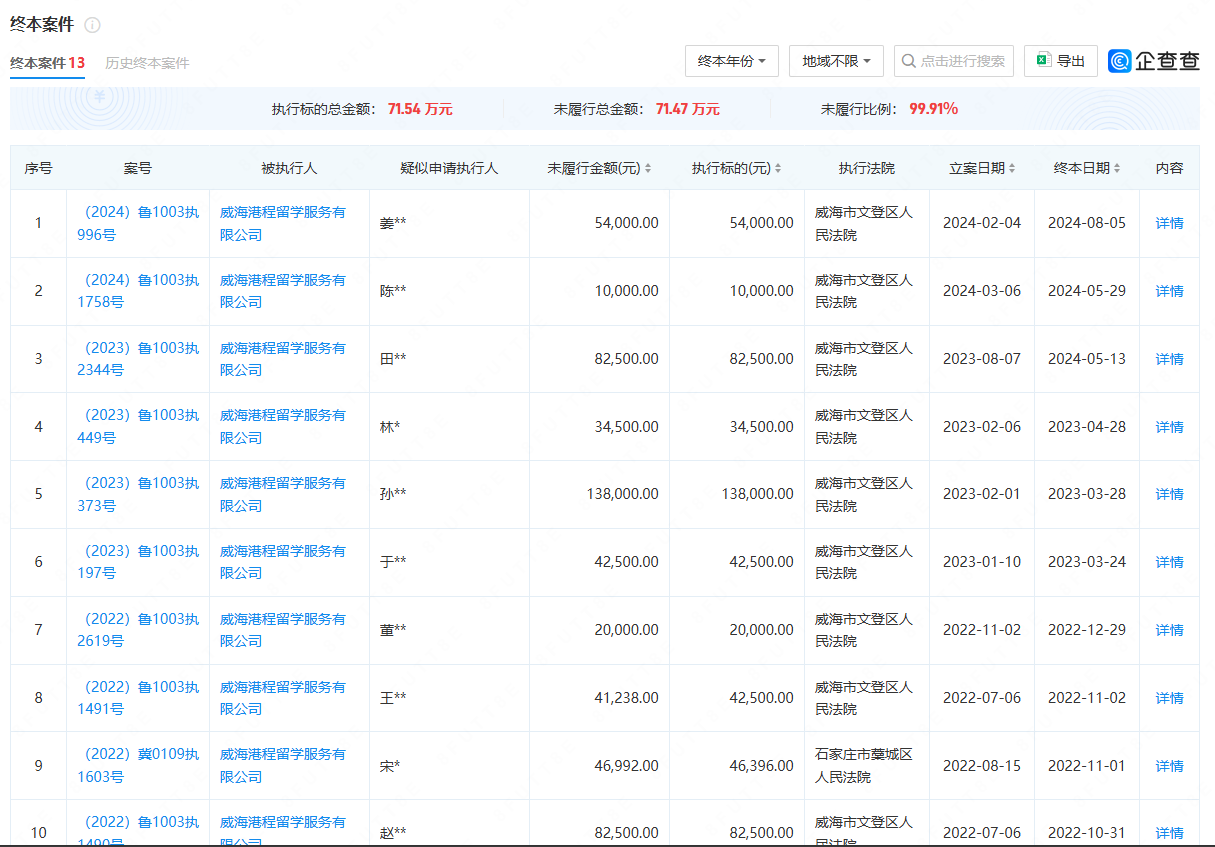
工商及司法数据披露显示,山东威海的留学服务机构——威海港程留学服务有限公司存在严重信用及履约风险。该公司累计被起诉125次,执行标的总金额达到71.54万元,但未履行金额高达71.47万元,未履行比例高达99.91%,企查分仅为226分。此外,公司已被列入经营异常名录,且高消费受限,引起行业及消费者高度关注。
公司基本情况
- 公司名称:威海港程留学服务有限公司
- 成立时间:2019年7月24日
- 公司性质:一人有限责任公司
- 股东:侯新连(持股100%)
- 主要业务:代办出国留学及工作签证
- 实际经营情况:公司不具备合法出国签证办理资质



典型案例分析
案件背景
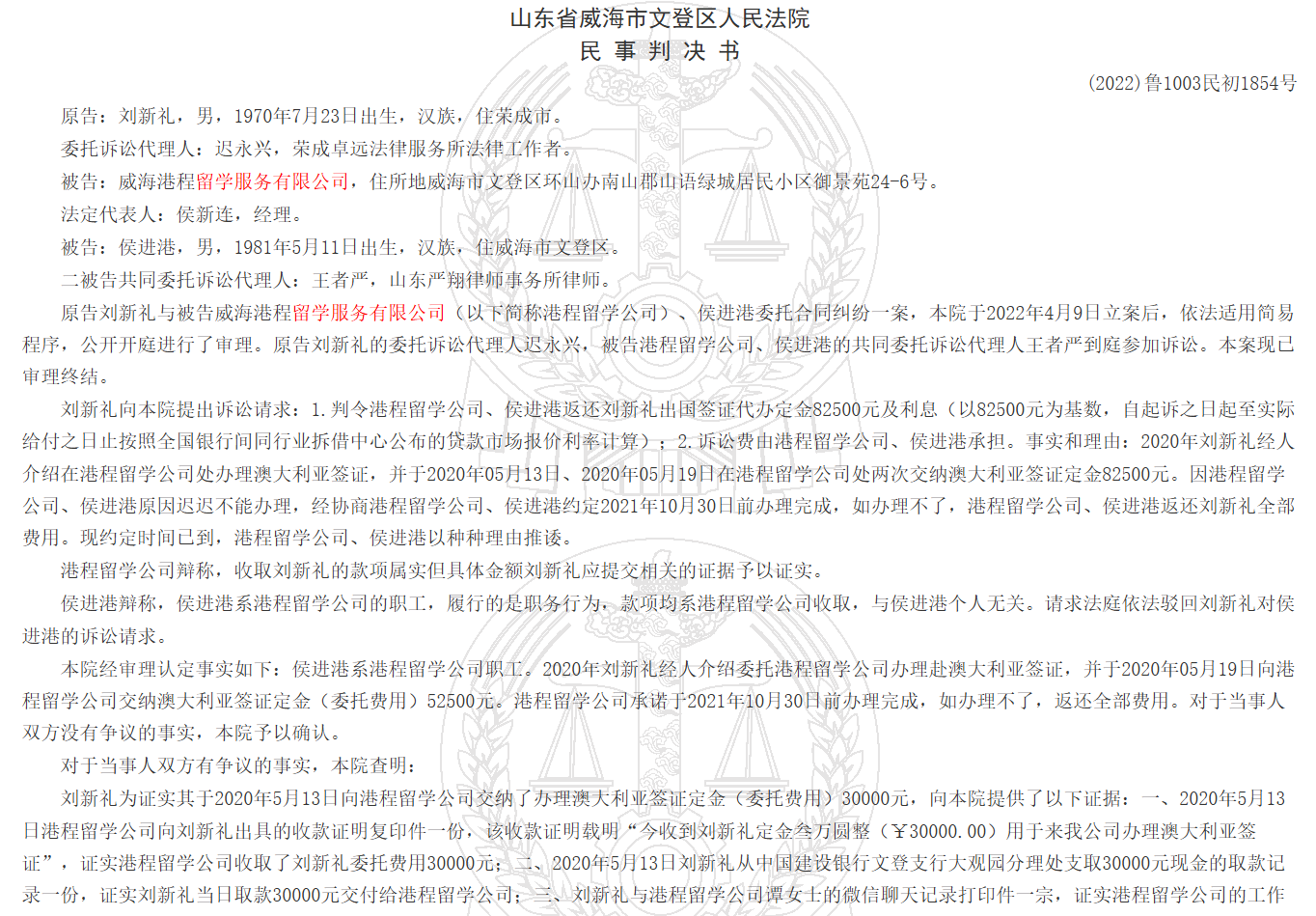
2020年,原告吴广福委托威海港程留学服务有限公司及其工作人员侯进港代办澳大利亚出国工作签证。合同约定吴广福支付签证及相关费用共计80,000元人民币。按照侯进港的要求,吴广福还办理了中信银行及平安银行信用卡,用于支付剩余签证费用。然而,这些信用卡被侯进港实际使用,导致吴广福产生额外欠款。
吴广福多次要求退款未果,遂向山东省威海市文登区人民法院提起诉讼,要求公司及股东返还款项,并支付利息。

诉讼经过
本案于2022年4月21日立案,依法适用简易程序公开审理。庭审中,吴广福提供了多项证据,包括:
- 收款证明
- 与侯进港的通话录音
- 微信聊天记录截图
- 中信银行和平安银行账单
被告威海港程留学服务有限公司及股东侯新连、工作人员侯进港分别提出辩解,声称:
- 公司收款存在争议,具体数额需确认;
- 侯新连仅为投资人,不应承担连带责任;
- 侯进港仅为经办人,个人无需承担责任。
法院对证据进行了严格审查,并结合通话录音、微信记录及银行账单认定:
- 吴广福确实支付签证费用80,000元;
- 侯进港使用了吴广福信用卡支付部分费用,中信银行信用卡拖欠款项25,000元已由吴广福偿还,平安银行已偿还485元,但仍有15,790.68元未清;
- 威海港程留学服务有限公司未履行合同义务,且股东未能证明公司财产独立,应承担连带责任。

法院判决
法院依据《民法典》《公司法》《民事诉讼法》等相关法律规定作出判决:
- 退还及利息
公司应在判决生效之日起十日内向吴广福退还办理出国签证费用及代偿信用卡款共105,485元,并支付自2022年4月21日起至实际履行之日止的利息。 - 连带责任
股东侯新连对上述款项承担连带还款责任。 - 驳回部分诉讼请求
法院不支持吴广福要求公司支付平安银行剩余欠款15,790.68元及担保费的诉请。 - 诉讼费用分担
案件受理费及保全费按比例由双方承担。
法院判决确认,公司及股东未履行合同义务,导致吴广福经济损失,公司必须承担返还及利息责任。

威海港程留学服务有限公司类似案件概况
吴广福案只是威海港程留学服务有限公司涉诉案件中的一个典型案例。公开司法数据统计显示:
- 涉案数量:13起类似合同纠纷案件
- 执行标的总金额:71.54万元
- 未履行总金额:71.47万元
- 未履行比例:99.91%
- 公司信用评分(企查分):226分
- 限制措施:经营异常名录、高消费限制
这些数据表明,公司存在严重的合同履行和资金管理风险,受害者权益长期得不到保障。


行业风险提示
- 留学中介资质
消费者在选择留学服务机构时,应核查公司合法资质,确保其具备办理签证或留学服务的资格。 - 合同与证据
签署详细书面合同,明确服务内容、费用及退款条款,并保存所有付款凭证及通讯记录。 - 资金安全
避免直接将大额款项交由代理人操作,应通过官方渠道或第三方托管平台。 - 法律维权
如遇合同违约,应及时收集证据,通过法院或仲裁机构维护合法权益。

结语
威海港程留学服务有限公司高达99.91%的未履行比例和累计13起诉讼案件,向行业及消费者敲响警钟。吴广福案等一系列案例提醒留学申请者,在选择中介机构时必须保持高度警惕,审查资质、签署合同、保留证据,以保障自身权益不受侵害。
【北美教育快报】特约报道






