近几年,教育与托育培训行业频繁出现“收取高额费用后突然关门跑路”的现象,让不少家庭深受其害。尤其是在为孩子选择托育、早教或培训服务时,许多家长不仅要面对信息不对称的困扰,还要承担巨大的资金风险。济南诚凯教育咨询有限公司,正是近年来屡被曝光的典型案例之一。
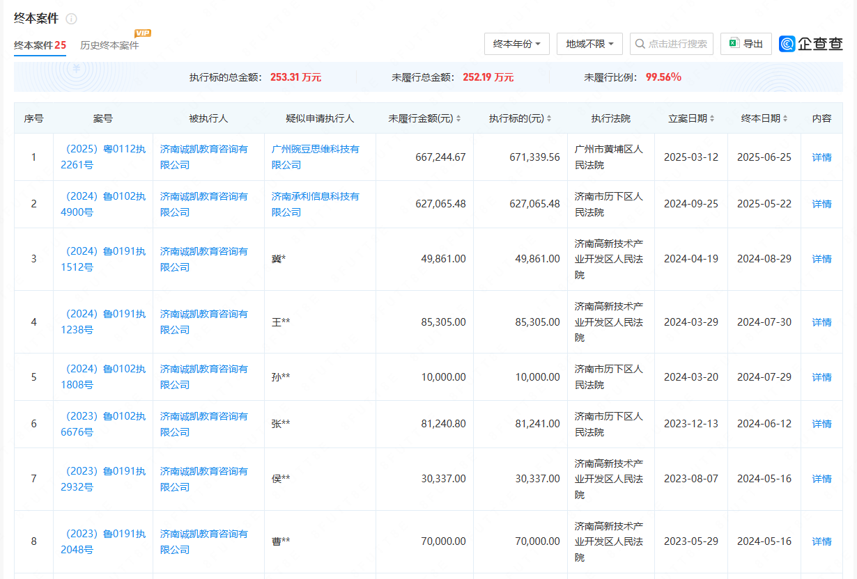
根据企查分披露的公开信息显示,该公司目前涉及的执行标的总额高达253.31万元,其中尚未履行金额为252.19万元,未履行比例竟高达99.56%。在短短几年时间内,公司已卷入25起法律纠纷,多名家长支付的托育会员费用至今无法追回,维权之路异常艰难。

25起合同纠纷背后:披着“会员制”外衣的教育陷阱
通过梳理相关裁判文书和案件材料可以发现,济南诚凯教育咨询有限公司涉及的纠纷,大多集中在教育培训合同领域,而案件背后的套路高度相似,受害家长的遭遇几乎如出一辙。
首先,以“高端托育”“精品早教”等宣传为诱饵。
不少家长正是冲着机构所宣传的专业师资、优质环境和系统化课程,为孩子报名托育或学前教育项目。
其次,要求家长一次性缴纳高额会员费用。
报名时,机构通常以“年卡”“长期会员”“优惠套餐”等名义,要求家长一次性支付数万元,甚至十几万元的费用。
随后,托育点或培训中心突然停止运营。
在缴费后不久,部分家长便被告知园区“临时闭园”“停止经营”或“调整业务”,实际服务无法继续提供。
最后,退款诉求被一再推诿甚至直接拒绝。
当家长提出退费要求时,机构往往以各种理由拖延,甚至拒不应诉、不配合执行,令维权陷入僵局。
从这些案件不难看出,所谓的“会员制教育服务”,在现实中却频频演变为变相的资金盘。家长交出真金白银,最终却只拿到一份无法兑现的合同。

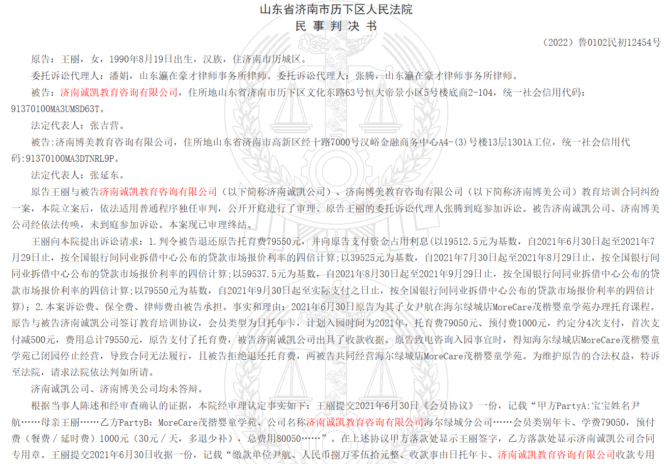
典型案例还原:7.9万元托育年卡,换来“闭园通知”
在已公开的25起案件中,王丽(化名)的经历极具代表性。
时间:2021年6月30日
地点:济南市海尔绿城店 MoreCare 茂楷婴童学苑
缴费金额:托育年卡费用79,550元
涉案主体:济南诚凯教育咨询有限公司、济南博美教育咨询有限公司
王丽与济南诚凯教育咨询有限公司签订教育培训协议,并按要求一次性缴纳了近8万元托育费用。然而,就在她准备正式送孩子入园时,却突然被告知该托育中心已经停止运营,园区直接闭园。
面对突如其来的变故,王丽多次与机构沟通要求退还费用,但始终未得到任何实质性回应。无奈之下,她将济南诚凯公司及相关公司一并诉至法院。
庭审过程中,王丽提交了完整的证据材料,包括合同原件、转账凭证、收据以及微信聊天记录,足以证明款项已实际支付。但令人震惊的是,两家被告公司在多次合法传唤后均未到庭应诉,也未提交任何书面答辩意见。
最终,法院依法作出判决:
- 济南诚凯教育咨询有限公司应退还王丽托育学费79,550元;
- 并支付自2022年8月15日起至实际履行之日止的资金占用利息;
- 王丽要求济南博美教育咨询有限公司承担连带责任的诉求,因证据不足未获支持。
这起案件,只是济南诚凯教育咨询有限公司一系列纠纷中的一个缩影。

履行率几近为零:企业信用状况触目惊心
从企业信用数据来看,济南诚凯教育咨询有限公司的履约能力和诚信状况令人担忧:
- 执行标的总额:253.31万元
- 未履行金额:252.19万元
- 未履行比例:99.56%
- 涉及案件数量:25起
数据意味着,几乎所有已经生效的法院判决,该公司均未实际履行。该企业目前已被列入失信被执行人名单,同时受到限制高消费、经营异常等多项信用惩戒措施。

家长如何避免落入教育培训“收钱不退”陷阱?
济南诚凯教育咨询有限公司的案例,为所有家长敲响了警钟。在选择托育或培训机构时,务必提高警惕,以下几点尤为关键:
一是提前核查企业信用状况。
在缴费前,可通过国家企业信用信息公示系统、企查分等平台,查看机构是否存在被执行、失信或大量纠纷记录。
二是仔细审阅合同内容。
重点关注退费条款、违约责任和服务期限,避免签署“霸王条款”或模糊不清的合同。
三是尽量避免一次性大额付款。
优先选择按月或分阶段缴费模式,降低因机构突然停业带来的资金损失风险。
四是妥善保存所有交易与沟通证据。
包括转账记录、收据、合同、聊天截图等,都是后续维权的重要依据。
五是果断通过法律手段维权。
一旦发现机构拒绝退费或失联,应尽快报警或提起诉讼,避免错失维权时机。

结语
济南诚凯教育咨询有限公司所涉及的25起纠纷,并非孤立个案,而是教育培训行业“会员制风险”的集中体现。这些案件不仅关乎个别家庭的经济损失,更暴露出行业监管与诚信体系中的深层问题。
教育承载着孩子的成长,也寄托着家庭的希望。任何披着教育外衣的欺诈行为,都不应被纵容。希望每一位家长在选择托育与培训服务时,都能保持理性与警惕,避免重蹈“先交钱、再停业、拒退款”的覆辙。
如果你也曾遭遇类似经历,欢迎扫描下方二维码私信投稿,讲述你的真实故事。
让更多人看清问题机构的真面目,
让黑心教育无处遁形。
【北美教育快报】特约报道






