近年来,中国校外培训市场持续扩张,但随之而来的合同纠纷和维权案例也频频发生。2021年底,河南省郑州市中原区人民法院对裴某诉郑州市中原区精锐数理化培训学校有限公司、郑州精锐教育咨询有限公司教育培训合同纠纷案作出判决,为家长和学员提供了维护合法权益的重要参考。

案件概况
原告裴某,男,2006年出生,居住在海南省海口市,其法定代理人为母亲宋某。裴某母亲在2020年7月7日及10月24日,分别与两家教育机构——郑州市中原区精锐数理化培训学校有限公司与郑州精锐教育咨询有限公司签订《精锐个性化教育合同》,为裴某购买初中二年级的语文、数学和物理校外培训课程。
根据合同约定,裴某家长已支付总计144,090元人民币的课程费用,其中数学课程费用为52,290元,语文与物理课程各为45,900元。合同签订后,裴某实际参加了部分课程:数学仅上了3课时(剩余67课时未授课)、语文上了9课时(剩余81课时未授课)、物理上了32课时(剩余58课时未授课)。

纠纷产生的原因
2021年8月,教育机构在校区张贴公告,宣布暂停课程培训,并承诺退还剩余未上课时费用。然而,裴某及其母亲发现,教育机构迟迟未履行退款承诺。原告方指出,被告一次性收取250课时的课程费用,已违反国务院教育督导委员会发布的规定——校外培训机构一次性收取培训费不得超过三个月或60课时。
在此背景下,裴某母亲宋某向法院提起诉讼,要求:
- 解除裴某与两家教育机构签订的《精锐个性化教育合同》;
- 退还剩余课程费用120,939元及利息(自2021年12月3日起至实际支付之日,按年利率3.85%计算);
- 所有诉讼费用由被告承担。
法院审理经过
在案件审理中,裴某的代理律师提交了详尽证据,包括合同原件、支付凭证以及退费申请表。退费申请表显示,双方曾就退款事宜达成书面承诺,金额总计120,939元,并由双方签字确认。此外,原告还提交了被告发布的书面通知,称因经营困难无法继续提供课程服务,并提供了退费线上受理渠道。
值得注意的是,两家被告教育机构在收到法院传票后,未出庭参加诉讼,也未提交任何答辩或证据。根据《中华人民共和国民事诉讼法》相关规定,缺席的被告需承担不利法律后果。

法院判决结果
法院认定,原告与被告之间存在教育培训合同关系。在合同履行期间,由于教育机构自身经营问题,被告未继续提供培训服务,并明确表示不履行剩余课程义务。基于上述事实,法院依据《中华人民共和国合同法》第九十四条、第九十八条及第一百零七条规定,作出如下判决:
- 解除裴某与两家教育机构于2020年7月7日及10月24日签订的《精锐个性化教育合同》;
- 被告须在判决生效之日起十日内向裴某返还剩余课程费120,939元及利息(以120,939元为基数,自2021年12月3日起按年利率3.85%计算);
- 案件受理费1,360元由被告承担;
- 如被告未按时履行金钱支付义务,将依法加倍支付迟延履行期间的债务利息。

案件背后的法律与教育启示
1. 教育培训合同履行的法律要求
本案表明,校外培训机构必须严格按照合同约定履行教学义务,否则可能承担退款及赔偿责任。教育机构在合同期内擅自停课或未提供课程服务,将直接违反合同法相关条款,面临法律追责。
2. 收费管理规范的重要性
国务院教育督导委员会明确规定,校外培训机构一次性收取培训费不得超过三个月或60课时。本案中,教育机构一次性收取远超规定的课时费用,成为法律纠纷的重要导火索,也为家长维权提供了政策依据。
3. 学员及家长权益保护
案例显示,家长应妥善保留缴费凭证、合同原件、机构通知和沟通记录,并了解国家相关法规。若教育机构停业、违约或拒绝退款,家长可通过法院提起诉讼维护权益。
4. 法律风险提示
教育机构未依法出庭或未提交答辩,容易导致不利判决。此外,机构若在合同期内擅自变更课程、停课或全面转型业务,也将承担法律责任。教育机构需建立合规运营机制,防范法律风险。
5. 对校外培训市场的启示
随着中国校外培训行业快速发展,监管政策不断趋严。本案提醒行业参与者,合同管理、课程安排和收费行为需严格合规,才能避免法律纠纷和声誉损失。同时,家长在选择培训机构时,应优先考虑合法合规、信誉良好的机构。
家长实用建议
- 签订合同前认真审阅条款:注意课程时长、收费方式、退费条款及违约责任。
- 保存所有付款凭证和沟通记录:为日后维权提供证据。
- 关注政策法规:了解教育部及地方教育主管部门关于校外培训收费、退费和课程管理的规定。
- 遇到纠纷及时采取法律途径:若机构拒绝履行合同,可向人民法院提起诉讼或寻求消费者权益保护部门介入。

结语
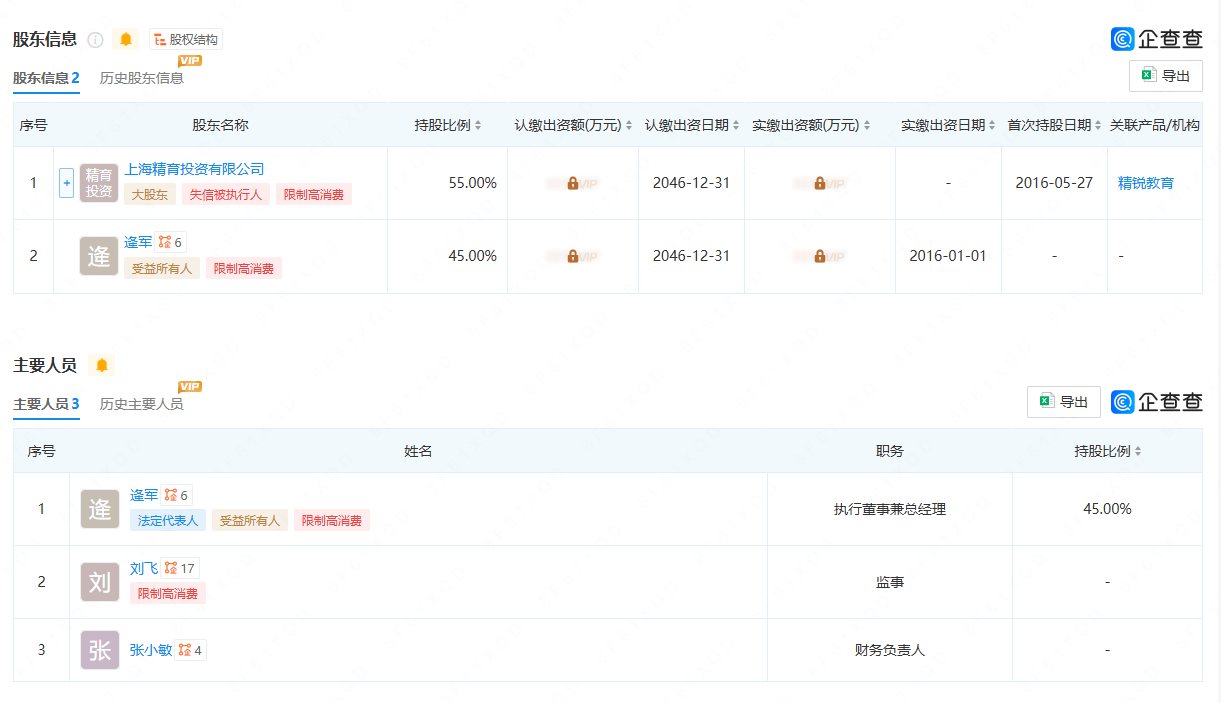
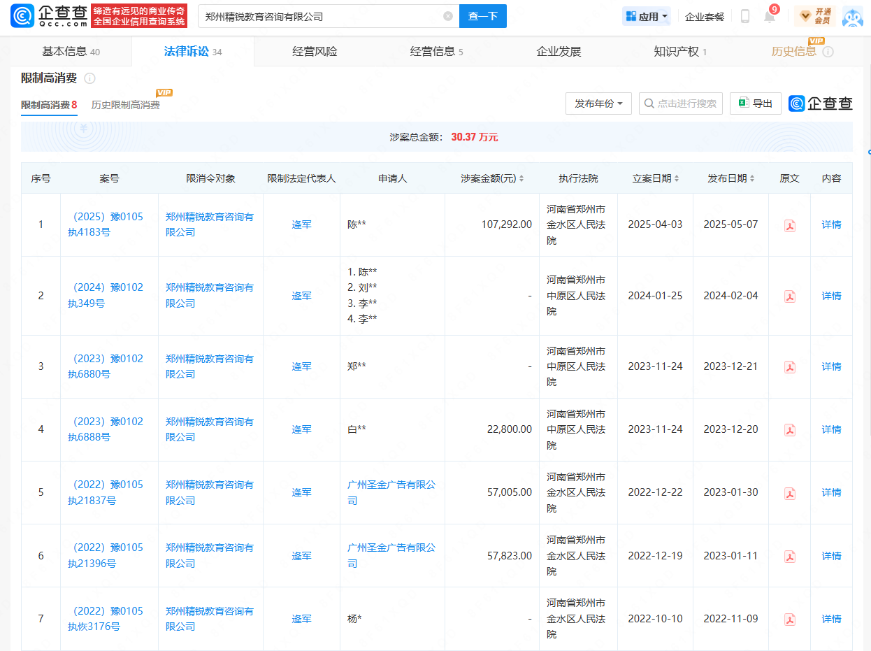
郑州裴某案虽然法院判决要求两家教育机构退还裴某120,939元课程费及利息,并解除合同,但在执行阶段,被告未按判决履行支付义务,被法院依法采取了限制高消费等强制措施。这一情况提醒教育机构,即便在判决后仍需严格履行法律义务,否则将面临更严重的法律后果。同时,也提示家长在选择培训机构时必须更加谨慎,关注合同条款、机构资质以及机构的履约能力,必要时保留维权证据,以保障孩子的学习权益和家庭财务安全。
如果你也有类似的经历,可以扫描下方二维码私信投稿你的故事!
让更多人看到黑心教育机构的真实面目!
【北美教育快报】特约报道






